JustHost现在可是为数不多的便宜VPS中的佼佼者,不到10元人民币的价格,网络配置都还过得去,还有五次免费更换机房和IP的机会,这算是相当良心了。俄罗斯DataLine机房VPS我们也多次测评过,虽然现在的PING值比起过去要高一些,但是网络和稳定性还是没有打折扣,电信去程CN2,三网回程CN2,这价格不香吗?当然,这价格配置你非要和香港CMI、搬瓦工等商家去比,那当我啥也没说。本文我们再次分享最新测评数据,看看现在的俄罗斯DataLine机房表现怎么样?
VPS套餐
|
|
|
俄罗斯DataLine机房VPS测评
全球PING及丢包率测试:

ping.pe丢包率测试:

性能和带宽测试:
路由去程
电信:

移动:

联通:

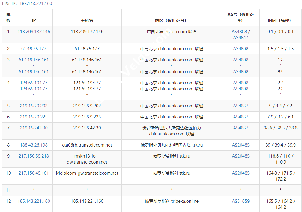
回程路由
Route-trace 四网路由快速测试:
[Info] 测试路由 到 上海电信(天翼云) 中 ... traceroute to 101.227.255.45 (101.227.255.45), 30 hops max, 32 byte packets 1 185.143.220.1 1.79 ms AS51659 Russian Federation, Moscow, tribeka.online 2 * 3 * 4 145.14.89.1 1.39 ms * Russian Federation, Moscow, cteurope.net 5 59.43.246.121 70.49 ms * China, ChinaTelecom 6 59.43.184.97 134.91 ms * China, Beijing, ChinaTelecom 7 59.43.182.226 158.58 ms * China, Shanghai, ChinaTelecom 8 * 9 * 10 * 11 61.152.25.73 167.07 ms AS4812 China, Shanghai, ChinaTelecom 12 * 13 * 14 * 15 * 16 * 17 * 18 * 19 * 20 * 21 * 22 * 23 * 24 * 25 * 26 * 27 * 28 * 29 * 30 * [Info] 测试路由 到 上海电信(天翼云) 完成 ! [Info] 测试路由 到 厦门电信CN2 中 ... traceroute to 117.28.254.129 (117.28.254.129), 30 hops max, 32 byte packets 1 185.143.220.1 0.53 ms AS51659 Russian Federation, Moscow, tribeka.online 2 * 3 * 4 145.14.89.1 1.43 ms * Russian Federation, Moscow, cteurope.net 5 59.43.246.121 70.21 ms * China, ChinaTelecom 6 59.43.184.97 134.03 ms * China, Beijing, ChinaTelecom 7 * 8 59.43.131.253 144.08 ms * China, Beijing, ChinaTelecom 9 59.43.46.70 169.33 ms * China, Guangdong, Guangzhou, ChinaTelecom 10 59.43.140.34 181.61 ms * China, Fujian, ChinaTelecom 11 110.80.128.94 181.66 ms AS133775 China, Fujian, Xiamen, ChinaTelecom 12 27.148.195.94 181.97 ms AS133775 China, Fujian, Xiamen, ChinaTelecom 13 * 14 * 15 117.28.254.129 195.78 ms AS4809 China, Fujian, Xiamen, ChinaTelecom [Info] 测试路由 到 厦门电信CN2 完成 ! [Info] 测试路由 到 浙江杭州联通 中 ... traceroute to 101.71.241.238 (101.71.241.238), 30 hops max, 32 byte packets 1 185.143.220.1 6.36 ms AS51659 Russian Federation, Moscow, tribeka.online 2 * 3 * 4 145.14.89.1 1.30 ms * Russian Federation, Moscow, cteurope.net 5 59.43.246.121 69.91 ms * China, ChinaTelecom 6 59.43.184.93 126.27 ms * China, Beijing, ChinaTelecom 7 59.43.182.226 150.83 ms * China, Shanghai, ChinaTelecom 8 * 9 202.97.90.58 151.92 ms AS4134 China, Shanghai, ChinaTelecom 10 * 11 202.97.102.62 146.98 ms AS4134 China, Zhejiang, Hangzhou, ChinaTelecom 12 * 13 * 14 219.158.100.125 155.39 ms AS4837 China, Zhejiang, Hangzhou, ChinaUnicom 15 * 16 * 17 * 18 * 19 * 20 * 21 * 22 * 23 * 24 * 25 * 26 * 27 * 28 * 29 * 30 * [Info] 测试路由 到 浙江杭州联通 完成 ! [Info] 测试路由 到 浙江杭州移动 中 ... traceroute to 112.17.0.106 (112.17.0.106), 30 hops max, 32 byte packets 1 185.143.220.1 0.74 ms AS51659 Russian Federation, Moscow, tribeka.online 2 * 3 * 4 145.14.89.1 2.68 ms * Russian Federation, Moscow, cteurope.net 5 59.43.246.121 70.80 ms * China, ChinaTelecom 6 59.43.184.97 133.99 ms * China, Beijing, ChinaTelecom 7 59.43.182.226 159.55 ms * China, Shanghai, ChinaTelecom 8 * 9 202.97.90.34 162.74 ms AS4134 China, Shanghai, ChinaTelecom 10 202.97.50.173 166.64 ms AS4134 China, Shanghai, ChinaTelecom 11 * 12 * 13 221.183.54.209 224.25 ms AS9808 China, Zhejiang, Hangzhou, ChinaMobile 14 221.183.94.137 220.25 ms AS9808 China, Zhejiang, Hangzhou, ChinaMobile 15 * 16 * 17 * 18 * 19 * 20 * 21 * 22 * 23 * 24 * 25 * 26 * 27 * 28 * 29 * 30 * [Info] 测试路由 到 浙江杭州移动 完成 ! [Info] 测试路由 到 北京教育网 中 ... traceroute to 202.205.6.30 (202.205.6.30), 30 hops max, 32 byte packets 1 185.143.220.1 0.52 ms AS51659 Russian Federation, Moscow, tribeka.online 2 * 3 * 4 145.14.89.1 1.44 ms * Russian Federation, Moscow, cteurope.net 5 59.43.246.121 69.85 ms * China, ChinaTelecom 6 59.43.184.93 248.94 ms * China, Beijing, ChinaTelecom 7 59.43.182.226 214.00 ms * China, Shanghai, ChinaTelecom 8 * 9 * 10 202.97.57.150 147.69 ms AS4134 China, Shanghai, ChinaTelecom 11 202.97.87.130 145.95 ms AS4134 China, Shanghai, ChinaTelecom 12 202.97.19.14 205.86 ms AS4134 China, Shanghai, ChinaTelecom 13 101.4.117.30 246.47 ms AS4538 China, Beijing, CHINAEDU 14 * 15 101.4.112.69 205.71 ms AS4538 China, Beijing, CHINAEDU 16 * 17 219.224.102.230 207.65 ms AS4538 China, Beijing, CHINAEDU 18 * 19 * 20 * 21 101.4.130.53 206.95 ms AS4538 China, Beijing, CHINAEDU 22 * 23 * 24 * 25 * 26 * 27 101.4.130.53 206.99 ms AS4538 China, Beijing, CHINAEDU 28 * 29 * 30 * [Info] 测试路由 到 北京教育网 完成 ! [Info] 四网路由快速测试 已完成 !
一键检测VPS回程国内三网路由

流媒体平台及游戏区域限制测试

TikTok检测

油管实测
网络测试
- 莫斯科DataLine (Tier-3, Moscow):46.17.40.85
- 圣彼得堡IQ Data (Tier-3, St. Petersburg):194.87.68.192
- 喀山(Rostelecom (Kazan):176.32.32.133
- 前 Adman,新西伯利亚Rostelecom (ex Adman, Novosibirsk): 46.29.162.89
- 峡湾(莫斯科)Fiord (Moscow):212.60.5.88
- 新西伯利亚TTK (Novosibirsk):193.38.50.142
- USA-达拉斯:lg-dcolo.justhost.ru
























