※バージョンによりキャプチャ画像やデザインが一部異なる場合がございます
AFFINGERタグ管理マネージャー2から「3」になって新しく追加された新機能のみの紹介となります。
一覧データの表示速度改善

データが増えることで重くなりがちだったタグ一覧の計測データを表示速度改善対策を2つ追加しました
一覧に計測結果を表示しない設定

一覧には計測結果を表示しないことで表示速度を確実に改善します。
各リンクは残るので個別にクリックしてデータを確認できます。

アフィリエイトタグ一覧ページでキャッシュを有効化する設定(β)

キャッシュを利用することで表示速度改善します。
約1時間ごとに最大100件分のデータを4時間キャッシュ生成します。
- キャッシュを利用するのでデータは即反映ではなくなります
- キャッシュは(約1時間ごとに)アクセスがあった時にキャッシュの有無をチェックします。従ってアクセスの全くない記事では動作しません(その場合はそもそも遅くなっていない場合が多いかと思います)
キャッシュ機能は併用プラグインやサーバー環境等により正常に機能しない場合もございます。その場合は「一覧に計測結果を表示しない設定」をご利用下さい
クリック数ランキング

クリックされたタグの「当日」「昨日」「週間」「月間」のランキングを表示します。
タグの入れ子対応
タグ管理マネージャー同士でアフィリエイトタグを入れ子にできるようしました。
これにより、例えば1つの表のタグを作成し、その中でさらに各商品ごとのタグを作成して個別に計測することが可能になります。
例えば今まで以下の様なtableで組んだタグがあったとします。

黄色の部分だけを別のタグで作成します。

<tr>で抜いているので自動整形されないように「ビジュアルエディタを停止する」を有効化して下さい。

先ほどの位置をショートコードに変更します。

全て行うとこのようにスッキリとしたタグになります。
注意点

タグをまとめる総まとめのタグは「計測から除外する」を有効化してください。
また、レイアウトに隙間ができるような場合は各ショートコードの隙間を無くし、「ビジュアルエディタを停止する」を有効化して下さい。
タグ管理マネージャー内ではショートコードによっては正常に展開できないものや不具合が出る場合もございます。
ダッシュボードへの情報表示

ダッシュボードにグラフ、ログ、ランキングの簡易なデータを表示できます。
ログ日時の拡張

ログ表示画面にて表示する期間を拡張できるようになりました。
ログイン時にタグ編集リンクを表示する

ログイン中に表示中のページにてタグの編集リンクを追加します。
(マウスオーバーでtitle属性によりタグ名が確認できます※ブラウザによる)
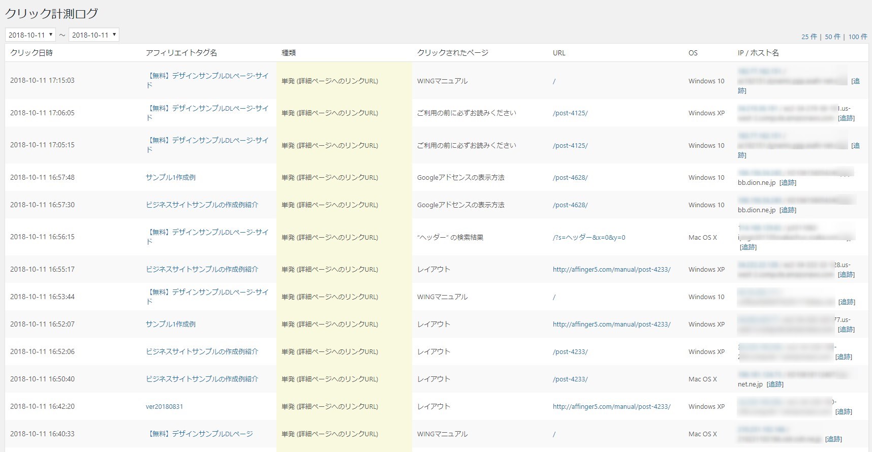
クリックされたタグを追跡

PVモニタープラグイン連携で「追跡機能」
新しく販売した「PVモニター」と連携することでクリックに至る導線も確認できます

ログを確認し、気になるクリックの「追跡」をクリックします。

タグをクリックしたユーザーの導線のログ(PVモニター)が表示されます。
上記の場合は「トップページ」→「笑える動画・映画ランキング」→「AmazonPrime Video」の順に閲覧してクリックしたことが伺えます。
反対にPVモニターのログの「確認」をクリックするとユーザーが広告(タグ)をクリックしたかチェックできます。
旧マニュアルガイド(ver4.3.0以前)